2月12日消息,苹果公司调任一位长期任职iPhone业务部门的高管Frank Casanova到新的AR业务部门,担任市场营销主管。AR在苹果内部的定位已然提高到战略层面,而本次调离iPhone部门高管就是一个充分的证明。
AR|华为AR眼镜专利曝光

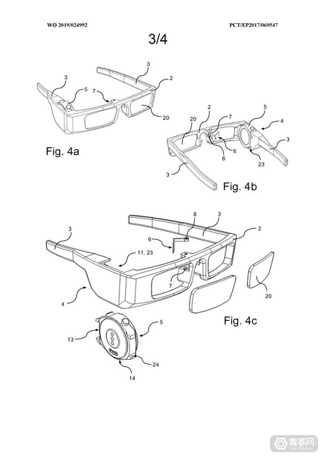
2月12日消息,世界知识产权组织发布了华为的一项新专利,该专利描述了一款AR智能眼镜框,其特点是镜腿上可嵌入一个用于电子设备的配适器(疑似可放入智能手表),或打造体积小巧的低成本AR头显。
AR|谷歌更新ARCore至1.7版

2月16日消息,谷歌宣布推出ARCore 1.7,此次更新加入了自拍AR滤镜和动画API:Augmented Faces(面部追踪),以及优化的应用UX。
AR|微软推出开源光线捕捉工具Cubemap

2月14日消息,微软MR Academy首席工程师Nick Klingensmith在Twitter上发布全新的开源光线捕捉工具:Cubemap。据悉,这款工具能够帮助开发者们在AR中可以更好地模拟自然光线,它支持的平台有:HoloLens、ARKit、ARCore等。
AR|微软发布HoloLens 2预热视频
2月12日消息,微软HoloLens发明者Alex Kipman发布了一段42秒神秘视频,该视频预告了一款将于2月24日MWC(世界移动通信大会)上亮相的新产品,疑似为HoloLens 2。
AR|谷歌地图测试AR导航功能

近日,谷歌地图正在测试AR导航功能,来实现步行导航,商家信息显示和其它内容指导等。目前该功能仅在测试版本中提供,具体的公开推出日期还未确定。
AR|《精灵宝可梦Go》将推AR拍照模式

近期,Niantic宣布《精灵宝可梦Go》也将加入类似的功能:Go Snapshot,虽然这个功能并不会对你拍的照片打分,但是你可以将自己捕捉到的可爱小精灵释放到真实环境中,并用相机记录下这一刻。
AR|《哈利·波特》AR游戏发第3段预告
2月16日消息,华纳兄弟公司发布了《哈利波特:巫师联盟》的第三款预告片,这款预告片中加入了《神奇动物在哪里》的元素。据悉,《巫师联盟》是Niantic公司开发的新款LBS AR游戏,预计将在2019年推出。
AR|North移动快闪店将举行6折促销

2月15日消息,North公司将于下周开设第一个临时门店,在临时门店中黑色的基本款Focals眼镜售价仅为599美元,相当于(原价999美元)6折优惠,而本周发布的新款镜架版本售价则为799美元。
AR|苹果AR/VR光学专利曝光

2月13日消息,美国专利商标局公布了苹果公司一项新专利,该专利描述了一套适用于AR/VR头显的光学系统,其特点是通过多透镜的组合,来达到减小头显体积,降低重量的作用。
AR|三星一键投屏到MR头显专利曝光

2月12日消息,三星新专利显示,该公司或在研发一种MR头显与外接媒体设备的连接方式,它能够让用户通过头显的全息界面操控媒体设备或查看信息和多媒体内容。
AR|Medivis推出术前规划AR平台

2月14日消息,近日位于美国纽约的Medivis公司专为外科医生开发一套术前规划的医疗AR平台:SurgicalAR,其特点就是将数据与AR可视化的特性结合,让医生快速、精准完成术前规划。
AR|苹果新专利将提升面容ID安全性

近期,苹果一项新专利表明,它提升了面容ID的安全性,新版本已不能再通过特殊设计的3D打印面具能解锁iPhone X。
AR|下代HoloLens或用眼球追踪提高FOV

近期,微软HoloLens光学架构师Bernard Kress曾透露,优秀的MR头显的关键在于,快速、精准的眼球追踪。眼球追踪将大幅降低生成高分辨率、大视场角全息影像所需的算力,因为头显将只需要渲染眼球注视的区域。
AR|乐高将推8套AR主题玩具套装

2月15日消息,作为玩具行业的领头羊,乐高即将推出8套以AR为主的玩具套装(Hidden Side系列)。据悉,这些游戏将通过Vuforia SDK打造,玩具套装售价将在20-130美元左右。
AR|easyJet通过AR让旅客检查旅行箱规格

2月12日,easyJet在自家App中新加入的AR功能,目的是让旅客自行检查登机箱是否超标,其通过AR预设一个符合等级规格的立方体网格进行对比。
AR|IDC发布2019年VR/AR市场十大预测
